

尊敬的用户:
针对近期网站、服务器被异常流量访问情况,造成网站流量、带宽使用过大等情况,我司根据用户的需求,紧急开发《异常流量清洗服务》,现已正式上线。
1.什么是异常流量清洗服务?
异常流量清洗服务产品能对网站或者App的业务流量进行恶意特征识别及防护,在对流量进行清洗和过滤后,将正常、安全的流量返回给服务器,避免网站服务器被恶意访问(如脚本、模拟器、虚假蜘蛛、AI机器 人等)占用过多的带宽和CPU等资源,导致性能异常、资源耗尽等问题,从而保障网站的正常访问。
2.那些产品可以购买异常流量清洗服务?
在我司购买的虚拟主机和云服务器均支持购买。
3.购买和管理路径
统一购买、管理路径:登录管理中心》业务管理》安全及监测》异常流量清洗

虚拟主机购买、管理路径:登录管理中心》业务管理》虚拟主机管理,点具体虚拟主机管理》网站安全管理》流量清洗

云服务器购买、管理路径:登录管理中心》业务管理》服务器管理,点管理进入》安全服务》异常流量清洗

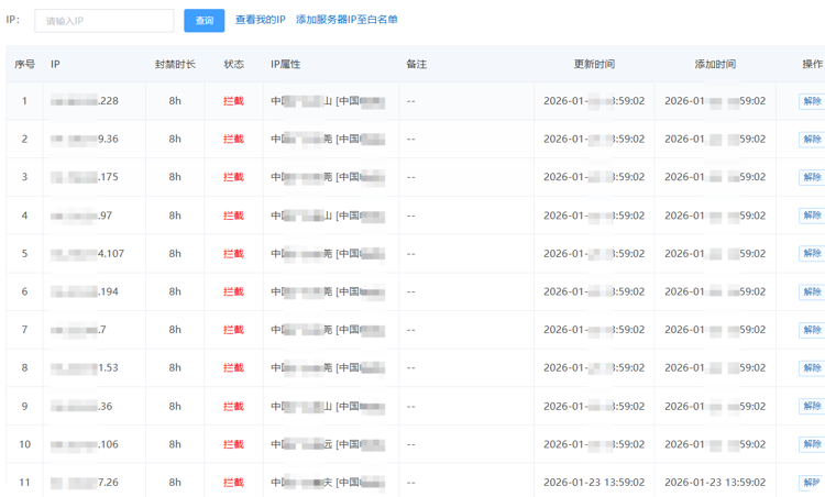
4.如何查看拦截日志?
登录管理中心》业务管理》安全及监测》异常流量清洗》详情》拦截日志

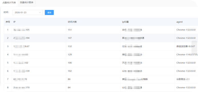
5.如何查看流量使用详情?
登录管理中心》业务管理》安全及监测》异常流量清洗》流量统计。可以查看流量统计详细数据,分列表和图表统计展示。


西部数码运营部
2026-1-23
© 2026 365.hk 版权所有,保留所有权利