其他服务商企业邮箱搬家流程如果您正在使用其他服务商的邮局系统,需要迁移到我司,请您按照以下流程进行迁移操作。 邮箱搬家需保持新购邮箱的域名与原来邮箱的邮箱账户信息一致,不一致可能会出现搬家失败的情况。 邮箱搬家准备工作: 需要先获取其他服务商邮箱的帐号密码(至少一个),其他服务商邮箱的imap/pop3服务器别名,这样才能完成下面的搬家设置 1、请先在我司购买一个企业邮局,购买时请填写原邮局域名。如果您原来的账号数量是5个,这里请购买5个,如果原来账户数量是500个,这里请选择500个。
2、登录新购买的企业邮局,创建邮箱账号。邮箱账号必须和原邮箱账号保持一致。 手工创建账户时: 参考教程:http://www.yunyou.top/help/detail?id=12 批量导入用户时: 参考教程:http://mail.yunyou.top/help/detail?id=47 3、域名解析。https://www.west.cn/faq/list.asp?unid=21 , 按此说明修改域名解析,以便在新的邮局上尽快恢复正常收发。如果不知道原imap地址,建议先操作步骤4搬家后操作步骤3修改域名解析 如果用户原来是用foxmail/outlook等客户端软件收发或不需要保留邮件的,不需要搬家。 如果用户需要保留原来的历史邮件,再用搬家功能,继续第4步操作。 先确定好迁移邮箱时间(建议避开邮件收发的高峰时间),并提前通知邮箱所有用户,邮箱即将迁移到新的邮局,解析生效后请使用新的邮局收发邮件。如使用客户端收发邮件的,建议在解析生效之前暂停使用客户端来收发邮件,以免因为解析变更漏收漏发。可以通过http://www.yunyou.top/login登录修改初始密码,并管理邮箱和收发邮件。 4、开始迁移邮件,请使用postmaster账户登录到企业邮局,进入“邮局管理”。点击“邮箱搬家”。
5、在邮箱搬家里填写指定的信息,来添加要搬家的邮箱。填写完成后点击“下一步”。 旧邮箱域名:此项请保持不变,就是当前域名。 旧邮箱账号/密码:请填写一个旧邮箱的账号和对应密码,用来测试是否可以正常连接。(不一定需要用postmaster账号)。 连接信息:选择imap方式,填写原邮局服务商提供的imap地址。 常见企业邮箱IMAP设置信息:https://www.west.cn/faq/list.asp?unid=2132
6、填写搬家账号并启动搬家功能。 如您不知道所有用户名和密码:请保持默认选择“用户前台自行输入密码启动搬家”。 如果您知道所有用户名和密码:请选择“代用户输入用户密码启动搬家”,用户名和密码用空格隔开,每行填写一个用户名和密码。 搬家时间默认设置为1个月,如不清楚搬家邮件量,建议不要修改。
如用户或密码输入错误,搬家将会失败。 3000封以内的邮箱,正常情况下24小时可以搬家完成, 3000<邮件量<25000封,正常情况下7个工作日内搬家完成。 7、邮箱搬家启动后,会显示此页面,可点击“查看搬家状态”来了解邮件搬家的进度。
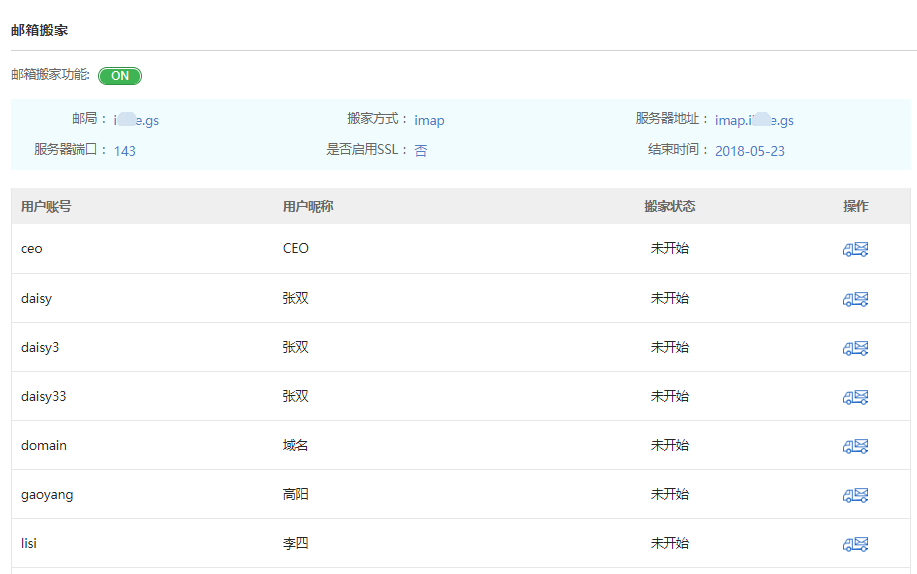
8、这里可以显示所有正在搬家的账户,状态显示还未开始。
9、用户邮箱管理会弹出提醒,管理员已经启动“邮箱搬家”,将帮您导入旧邮箱邮件。点击“开始搬家”。 点击后系统会弹出提示框,提示输入旧邮箱密码,输入后正式开始搬家。
如提示下图报错,请检查输入密码是否正确,或IMAP功能是否正常。
10、正式开始搬家时,系统会显示为如下:
11、搬家完成后,系统会显示如下提示:
管理员邮箱搬家界面也会有相应提示。
12、当所有用户都搬家完成时,您也可以手动关闭邮箱搬家功能。
|
|||||
| >> 相关文章 | |||||
© 2025 365.hk 版权所有,保留所有权利












